Home
Download PDF
Order CD-ROM
Order in Print
WIRING HARNESS 4W110 REPLACEMENT (cont)
Installation - TM-9-2350-292-20-1_1583
TM-9-2350-292-20-1 Carrier Ammunition Tracked M992A1(NSN 2360-01-362-3021) EIC:AE6 Manual
Page Navigation
1527
1528
1529
1530
1531
1532
1533
1534
1535
1536
1537
TM 9--2350--292--20--1
0320 00--2
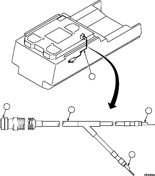
WIRING HARNESS 4W110 REPLACEMENT -- CONTINUED
0320 00
Removal--Continued
Figure 133
2
1
3
4
1