TM 9--2350--292--20--1
0302 00--3
WIRING HARNESS 3W206 REPLACEMENT -- CONTINUED
0302 00
Removal--Continued
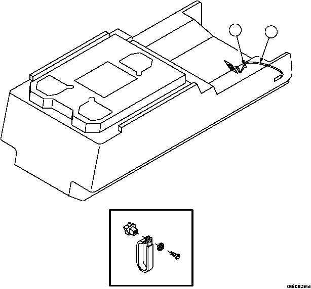
2. Remove straps, clamps, attaching hardware and lockwasher (A), securing wiring harness (1) to vehicle, as shown
in illustration. Discard lockwasher.
3. Remove wiring harness (1).
4. Inspect parts for damage and replace as required.
Installation
1. Install wiring harness (1) in vehicle, with straps, clamps, attaching hardware and new lockwasher (A), as shown in
illustration.
Figure 150
A
1
A