TM 9--2350--292--20--1
0331 00--3
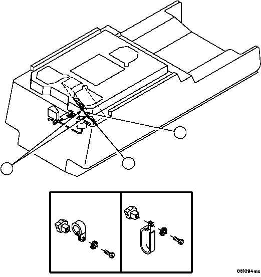
WIRING HARNESS 4W618 REPLACEMENT -- CONTINUED
0331 00
Removal--Continued
2. Remove straps, clamps, attaching hardware and lockwashers (A and B), securing wiring harness (1) to vehicle, as
shown in illustration. Discard lockwashers.
3. Remove wiring harness (1).
4. Inspect parts for damage and replace as required.
Installation.
1. Install wiring harness (1) in vehicle, with straps, clamps, attaching hardware and new lockwashers (A and B), as
shown in illustration.
Figure 151
A
B
B
A
1