TM 9-2350-256-34
0067 00
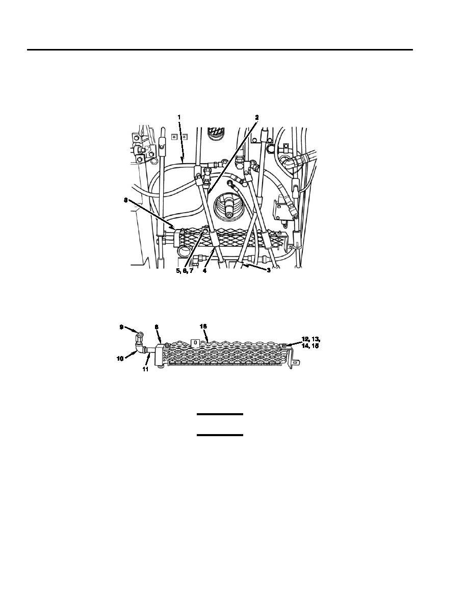
Removal
1.
Remove oil cooler inlet line (1) and oil cooler outlet line (2).
2.
Remove pin (hidden) (3) and move rod (4) out of way.
3.
Remove two screws (5), lockwashers (6), washers (7), and mechanical transmission oil cooler assembly (8). Discard
lockwashers.
Disassembly
1.
Remove adapter union (9), elbow (10), and nipple (11) from mechanical transmission oil cooler assembly (8).
2.
Remove two nuts (12), lockwashers (13), washers (14), screws (15), and guard (16). Discard lockwashers.
Cleaning
WARNING
Solvents can burn easily, can give off harmful vapors, and are harmful to skin and clothing. To avoid
injury or death, keep away from open fire and use in a well-ventilated area. If solvent gets on skin or
clothing, wash immediately with soap and water.
1.
Clean dirt and other foreign material from all parts with cleaning compound or paint thinner, followed by wire brushing
where necessary. Dry with compressed air.
Inspection-Acceptance and Rejection Criteria
1.
Inspect mechanical transmission oil cooler assembly for cracks, distortion, breakage, and other damage that might cause
leakage or otherwise impair its use.
2.
Inspect threaded parts for nicks, cross-threading, and other evidence of excessive wear.
0067 00-2