TM 9--2350--292--20--1
0071 00--9
SIGNALS FROM SENSOR IS BELOW ITS VALID RANGE, INDICATES BOTH
CIRCUITS ARE OPEN, IS ABOVE ITS VALID RANGE, INDICATES CIRCUITS
ARE CLOSED, OR WAS NOT PROCESSED CORRECTLY -- CONTINUED
0071 00
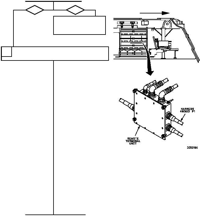
1. Disconnect wiring harness 4W503 connector
P1 from remote terminal unit connector J3.
I
CONTINUED ON NEXT PAGE
CONTINUED FROM STEP H
yes
no
Replace remote terminal
unit (WP 0675 00). Verify
fault is corrected.
FORWARD